Külső tokos redőnyök
Külső tokos redőnyök OUTBOX MCA
Az MCA OUTBOX ideális megoldás arra, hogy a külsőtokos redőnyt könnyedén lehessen rá illeszteni a már meglévő nyílászáróra. A kétféle redőnytok dizájnja tökéletes harmóniában van a homlokzati részletekkel, amire fel vannak szerelve.
Előnyök redőnyök OUTBOX MCA
- Megóvja a lakást a túlzott átmelegedéstöl.
- Árnyék: állítható fényadagolás,ami biztosítja a nyugodt pihenést.
- Biztonság és védelem a kiváncsiskodó szemek ellen. A motoros rendszereket be lehet programálni, hogy egy bizonyos idöpontban a redőnyök leereszkedjenek ,vagy felemelkedjenek.
- Magánszféra: megóvnak a kíváncsiskodó szemektöl, főleg akkor ha az ablak az utcára néz ,vagy egy szomszéd házra.
- Kiváló hangszigetelés
- Megóvja az ablakot az esőtöl és a hóvihartól.
- Megóvja a butorokat a beszűrődő napsugaraktól.
- Működtethető távirányitóval, vagy kézzel.
- A színeket harmonizálni lehet a ház vakolatának színeivel.
- Lehetőség van integrált szúnyogháló beszerelésére is.
- Hőveszteség elkerülése a hideg téli napokon
- 10%-al kevesebb hőenergia használat a hideg téli napokon.
Működési bemutató
-
Külső tokos redőny - OUTBOX beillesztett szúnyoghálóval, 45° barna redőnytok , gurtnis működtetés.
-
Külső tokos redőny – OUTBOX beillesztett szúnyoghálóval dupla, 45° barna redőnytok , gurtnis és hajtókaros működtetés.
-
Külső tokos redőny - OUTBOX beillesztett szúnyoghálóval, 45° barna redőnytok, távirányitós működtetés.
-
Külső tokos redőny - OUTBOX beilleszett szúnyoghálóval, kerek tok, gurtnis működtetés.
-
Külső tokos redőny - OUTBOX beillesztett szúnyoghálóval, dupla, kerek tok, táviranyítós működtetés.
-
Külső tokos redőny - OUTBOX, kerek tok rugóval és zárral
Működés és kiegészítők
Léc színek 37mm
Léc színek - 55mm
Műszaki adatok redőnyök
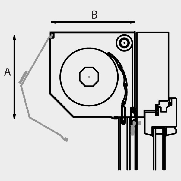
Külsőtokos redőny - OUTBOX, 45° tok
| Léc | Redőnytok méret | Lefutósín méret | Maximális szélesség |
Maximális magasság | Maximális felület | ||||
|---|---|---|---|---|---|---|---|---|---|
| 37mm | A | B | C | D | 2600mm | Gurtni | Hajtókaros/Rugó/Elektromos | Gurtni/Snur | Hajtókaros/Rugó/Elektromos |
| 138mm | 138mm | 22mm | 53mm - egyszerű 85mm - “H” |
1670mm | 1500mm | 2.5mp | 5mp | ||
| 150mm | 150mm | 2150mm | 2010mm | ||||||
| 165mm | 165mm | 2800mm | 2500mm | ||||||
| 180mm | 180mm | 3180mm | 2880mm | ||||||
| 205mm | 205mm | 3900mm | 3500mm | ||||||
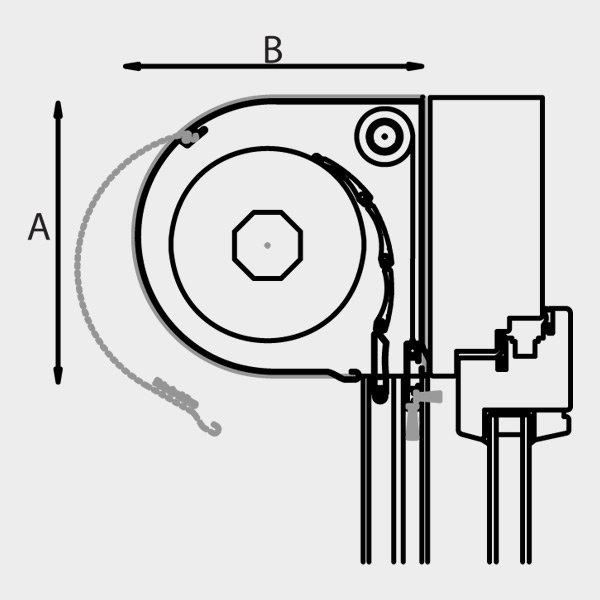
Külsőtokos redőny - OUTBOX beépített szúnyoghálóval, 45° tok
| Léc | Redőnytok méret | Lefutósín méret | Maximális szélesség |
Maximális magasság | Maximális felület | ||||
|---|---|---|---|---|---|---|---|---|---|
| 37mm | A | B | C | D | 2600mm | Gurtni | Hajtókaros/Rugó/Elektromos | Gurtni/Snur | Hajtókaros/Rugó/Elektromos |
| 138mm | 138mm | 39mm | 53mm | 1100mm | 801mm | 2.5mp | 5mp | ||
| 150mm | 150mm | 1530mm | 1330mm | ||||||
| 165mm | 165mm | 2170mm | 1730mm | ||||||
| 180mm | 180mm | 2500mm | 2500mm | ||||||
| 205mm | 205mm | 2500mm | 2500mm | ||||||
Külső tokos redőny – OUTBOX kerek redőnytokkal
| Léc | Redőnytok méret | Lefutósín méret | Maximális szélesség |
Maximális magasság | Maximális felület | ||||
|---|---|---|---|---|---|---|---|---|---|
| 37mm | A | B | C | D | 2600mm | Gurtni | Hajtókaros/Rugó/Elektromos | Gurtni/Snur | Hajtókaros/Rugó/Elektromos |
| 138mm | 138mm | 22mm | 53 mm -egyszerű 85 mm - “H” |
1670mm | 1500mm | 2.5mp | 5mp | ||
| 165mm | 165mm | 2700mm | 2450mm | ||||||
| 180mm | 180mm | 3270mm | 3050mm | ||||||
Külső tokos redőny – OUTBOX kerek redőnytokkal, beépített szúnyoghálóval
| Léc | Redőnytok méret | Lefutósín méret | Maximális szélesség |
Maximális magasság | Maximális felület | ||||
|---|---|---|---|---|---|---|---|---|---|
| 37mm | A | B | C | D | 2600mm | Gurtni | Hajtókaros/Rugó/Elektromos | Gurtni/Snur | Hajtókaros/Rugó/Elektromos |
| 138mm | 138mm | 39mm | 53mm | 1100mm | 800mm | 2.5mp | 5mp | ||
| 165mm | 138mm | 2430mm | 2060mm | ||||||
| 180mm | 180mm | 250mm | 2060mm | ||||||
Külsőtokos redőny - OUTBOX, 45° tok
| Léc | Redőnytok méret | Nélkül beépített szúnyoghálóval motoros (kapcsolós vagy Távírányítós) |
||
|---|---|---|---|---|
| 55mm | A | B | Maximális magasság | Maximális felület |
| 205mm | 205mm | 1920mm | 7mp | |
| 250mm | 250mm | 3380mm | 8mp | |
| 300mm | 300mm | 4300mm | 8mp | |


